


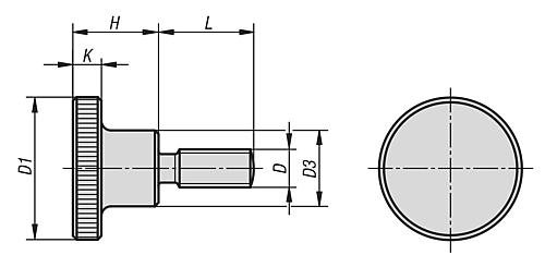
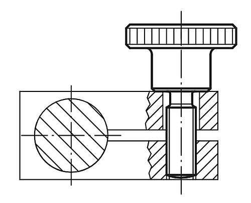
RÄNDELSCHRAUBE DIN464 D=M10X25, D1=36, H=23, EDELSTAHL BLANK
Artikelnummer:4059245037001
EAN:4059245037001
Hersteller ID:K0140.102X25
L=Gewindelänge25
Ursprungs-LandDE
Material GrundkörperEdelstahl
Oberfläche Grundkörperblank
D=GewindeM10
H=Höhe23
D1=Außendurchmesser36



